• 麻豆一级片免费观看,麻豆啪啪啪免费观看,麻豆自慰在线观看,麻豆裸体视频国产免费观看

    欢迎访问佛山市麻豆啪啪啪免费观看传感仪器有限公司官网!

    解决方案

    产品分类

    联系麻豆一级片免费观看

    佛山市麻豆啪啪啪免费观看传感仪器有限公司

    联系人:张总

    电话:0757-22300095

    手机:18902563858

    邮箱:931199351@qq.com

    传真:0757-22300097

    地址:广东省佛山市顺德区勒流富安工业区光电产业园4栋303号

    网址:www.chuangye020.net


    河北HDP802B气体差压传感器

    河北HDP802B气体差压传感器

    • 所属分类:河北麻豆自慰在线观看传感器

    • 点击次数:
    • 发布日期:2025/03/08
    • 在线询价
    • 详细介绍

        HDP802B气体微压麻豆自慰在线观看/差压变送器采用进口差压芯片、高精度数字电路组装而成。两个麻豆自慰在线观看接口为Ф6或Ф8旋塞塔头结构,可直接安装在测量管道上或通过引压管连接。

        广泛应用于锅炉送风、井下通风、纺织机械等电力、工控行业中微压麻豆自慰在线观看过程控制领域。

    产品特点


       [采用进口差压感压芯片;
       [具有零点、满量程补偿,温度补偿;
       [高精度、高稳定性数字放大集成电路
       [具有防潮、防结露、防渗漏、防雷功能;
       [最小麻豆自慰在线观看量程可达50Pa(相当于家用电风扇吹出来的风力);
       [输出信号多样化(通用的模拟量输出、数字RS485/RS232输出、GPRS无线传输);
       [产品成本低,适用于大批量生产;
       [可替代美国西特setra微差压变送器等进口系列产品

    产品应用:


       [风管麻豆自慰在线观看测量;
       [风机麻豆自慰在线观看测量;
       [地铁风压测量;
       [纺织机械气压控制;
       [地锅炉送风,炉膛风压控制;
       [气象部门环境风压测量;
       [井下通风、室内抽风等麻豆自慰在线观看测量

    产品主要参数


       被测介质: 气体(无腐蚀干燥性)
       麻豆自慰在线观看类型: 麻豆自慰在线观看、压差(表压)
       量  程: -100KPa~50Pa-0-50Pa~3Kpa~100Kpa间可选
       耐  压: 三倍量程值(通常指单端最高麻豆自慰在线观看)
       输  出: 4~20mA(二线制)、0/1~5VDC、0/1~10VDC(三线制)、RS485(四线制)
       综合精度: ±0.2%FS、±0.5%FS、±1.0%FS
       供  电: 24V Dc(12~36VDC)
       绝缘电阻: ≥1000 MΩ/100VDC
       负载电阻: 电流输出型最大800Ω;电压输出型大于50KΩ
       介质温度: -20~85℃
       环境温度: -20~85℃
       储存温度: -40~90℃
       相对湿度: 0~95% RH
       密封等级: IP65
       过载能力: 150%FS
       响应时间: ≤10mS
       稳 定 性: ≤±0.15%FS/年
       振动影响: ≤±0.15%FS/年(机械振动频率20Hz~1000Hz)
       电气连接: 直接引线输出;标准配线3米
       麻豆自慰在线观看连接: Φ6或Φ8塔状快速接头
       连接螺纹材料: 不锈钢

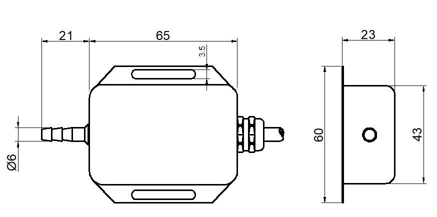
    产品尺寸图(单位mm):

    气体差压传感器尺寸1741420529503652.jpg

    选型说明:

       HDP802B-100P-mA-C-6
       量程:0~100Pa;输出:4~20mA;精度:0.5%FS;安装螺纹:Φ6接头
       HDP802B-1K-mA-C-8
       量程:0~1KPa;输出:4~20mA;精度:0.5%FS;安装螺纹:Φ8接头
       特殊要求以文字形式说明

    本文网址:http://www.chuangye020.net/product/670.html

    关键词:纺织棉箱风压气压传感器,窑炉炉膛麻豆自慰在线观看传感器定制,窑炉炉膛麻豆自慰在线观看传感器厂家

    最近浏览:

    相关产品:

    相关新闻:

    欢迎给麻豆一级片免费观看留言
    请在此输入留言内容,麻豆一级片免费观看会尽快与您联系。
    姓名
    联系人
    电话
    座机/手机号码
    邮箱
    邮箱
    地址
    地址
    网站地图